|
开关简介
HD系列、HS系列单投和双投刀开关,开启式刀开关适用于交流50Hz、额定电压至380V、直流至220V,额定电流至1500A 的成套配电装置中,作为不频繁地手动接通和分断交、直流电路或作隔离开关用。
HD(S)11系列中央手柄式刀开关主要用于动力站,不切断带有电流的电路,作为电气隔离之用。
HD(S)12系列侧方正面杠杆操作机构式刀开关主要用于正面操作、前面维修的开关柜中,操作机构可以在柜的两侧安装。
HD(S)13系列中央正面杠杆操作机构式刀开关主要用于正面操作后面维修的开关柜中,操作机构装在正前方。
HD(S)14系列侧面操作手柄式刀开关,主要用于动力箱中。
装有灭弧室的刀开关可以切断电流负荷,其它系列刀开关只作电气隔离之用。
型号及含义

开关特性
3.1额定电压为V、直流220V
3.2额定电流为100、200、400、600、1000、1500A
3.3主要技术参数
|
额定电流(A)
|
100
|
200
|
400
|
600
|
1000
|
1500
|
通断能力(A)
(5个操作循环)
|
AC 380V、cosф=0.72~0.8
|
100
|
200
|
400
|
600
|
1000
|
1500
|
|
DC T=0.01-0.011S 220V
|
100
|
200
|
400
|
600
|
1000
|
1500
|
|
机械寿命(次)
|
10000
|
10000
|
10000
|
5000
|
5000
|
5000
|
|
电寿命(次)
|
1000
|
1000
|
1000
|
500
|
500
|
500
|
|
Is短时耐受电流(kA)
|
6
|
10
|
20
|
25
|
30
|
40
|
|
动稳定电流峰值(kA)
|
杠杆操作模式
|
20
|
30
|
40
|
50
|
60
|
80
|
|
手柄式
|
15
|
20
|
30
|
40
|
50
|
-
|
|
操作力(N)
|
≤300
|
≤300
|
≤300
|
≤300
|
≤400
|
≤300
|
注:通断能力为带有灭弧室的刀开关的技术指标
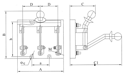
HD11系列单投开关(板前接线)外形与安装尺寸
|
型号
|
外形尺寸(mm)
|
外形尺寸(mm)
|
|
A
|
B
|
C
|
C1
|
D
|
a
|
b
|
фc
|
M
|
|
HD11-100
|
2极
|
170
|
205
|
110
|
220
|
70
|
120
|
140
|
ф7
|
M8
|
|
3极
|
190
|
205
|
110
|
220
|
70
|
70
|
140
|
ф4
|
M8
|
|
4极
|
260
|
230
|
118
|
238
|
70
|
140
|
140
|
ф7
|
M8
|
|
HD11-200
|
2极
|
170
|
205
|
110
|
220
|
70
|
120
|
140
|
ф7
|
M8
|
|
3极
|
190
|
205
|
110
|
220
|
70
|
70
|
140
|
ф7
|
M8
|
|
4极
|
260
|
230
|
118
|
238
|
70
|
140
|
140
|
ф7
|
M8
|
|
HD11-400
|
2极
|
220
|
264
|
132
|
270
|
80
|
160
|
190
|
ф7
|
M12
|
|
3极
|
220
|
264
|
132
|
270
|
80
|
80
|
190
|
ф7
|
M12
|
|
4极
|
300
|
272
|
130
|
265
|
80
|
160
|
190
|
ф7
|
M12
|
|
HD11-600
|
2极
|
240
|
325
|
112
|
305
|
100
|
200
|
140
|
ф9
|
M16
|
|
3极
|
270
|
325
|
112
|
305
|
100
|
100
|
140
|
ф9
|
M16
|
|
4极
|
370
|
325
|
112
|
305
|
100
|
200
|
140
|
ф9
|
M16
|
|
HD11-1000
|
2极
|
270
|
382
|
118
|
355
|
120
|
240
|
140
|
ф9
|
2-M12
|
|
3极
|
325
|
382
|
118
|
355
|
120
|
120
|
140
|
ф9
|
2-M12
|
|
4极
|
450
|
382
|
118
|
355
|
120
|
240
|
140
|
ф9
|
2-M12
|
|
HD11-1500
|
2极
|
300
|
410
|
128
|
364
|
130
|
260
|
140
|
ф11
|
4-M12
|
|
3极
|
360
|
410
|
128
|
364
|
130
|
130
|
140
|
ф11
|
4-M12
|
|
4极
|
490
|
410
|
128
|
364
|
130
|
260
|
140
|
ф11
|
4-M12
|
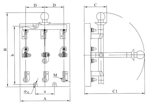
HD11系列单投开关(板后接线)外形与安装尺寸
|
型号
|
外形尺寸(mm)
|
外形尺寸(mm)
|
|
A
|
B
|
C
|
C1
|
D
|
E
|
a
|
b
|
фc
|
M
|
|
HD11-100
|
2极
|
170
|
205
|
110
|
220
|
70
|
32
|
120
|
140
|
ф7
|
M8
|
|
3极
|
190
|
205
|
110
|
220
|
70
|
32
|
70
|
140
|
ф4
|
M8
|
|
4极
|
260
|
230
|
118
|
238
|
70
|
32
|
140
|
140
|
ф7
|
M8
|
|
HD11-200
|
2极
|
170
|
205
|
110
|
220
|
70
|
32
|
120
|
140
|
ф7
|
M8
|
|
3极
|
190
|
205
|
110
|
220
|
70
|
32
|
70
|
140
|
ф7
|
M8
|
|
4极
|
260
|
230
|
118
|
238
|
70
|
32
|
140
|
140
|
ф7
|
M8
|
|
HD11-400
|
2极
|
220
|
264
|
132
|
270
|
80
|
43
|
160
|
190
|
ф7
|
M12
|
|
3极
|
220
|
264
|
132
|
270
|
80
|
43
|
80
|
190
|
ф7
|
M12
|
|
4极
|
300
|
272
|
130
|
265
|
80
|
43
|
160
|
190
|
ф7
|
M12
|
|
HD11-600
|
2极
|
240
|
325
|
112
|
305
|
100
|
55
|
200
|
140
|
ф9
|
M16
|
|
3极
|
270
|
325
|
112
|
305
|
100
|
55
|
100
|
140
|
ф9
|
M16
|
|
4极
|
370
|
325
|
112
|
305
|
100
|
55
|
200
|
140
|
ф9
|
M16
|
|
HD11-1000
|
2极
|
270
|
382
|
118
|
355
|
120
|
70
|
240
|
140
|
ф9
|
2-M12
|
|
3极
|
325
|
382
|
118
|
355
|
120
|
70
|
120
|
140
|
ф9
|
2-M12
|
|
4极
|
450
|
382
|
118
|
355
|
120
|
70
|
240
|
140
|
ф9
|
2-M12
|
|
HD11-1500
|
2极
|
300
|
410
|
128
|
364
|
130
|
85
|
260
|
140
|
ф11
|
4-M12
|
|
3极
|
360
|
410
|
128
|
364
|
130
|
85
|
130
|
140
|
ф11
|
4-M12
|
|
4极
|
490
|
410
|
128
|
364
|
130
|
85
|
260
|
140
|
ф11
|
4-M12
|
|